皇冠信用網结算日是哪天 _刚刚,跳水!超20万人爆仓
如何申请皇冠代理(huangguan.hk—)开会员号,招代理/条件好/皇冠体育/出租/招登1登2登3地区代理【导读】加密货币市场集体走低皇冠信用網结算日是哪天 ,超20万人被爆仓
中国基金报记者 晨曦
刚刚皇冠信用網结算日是哪天 ,加密货币市场再度跳水!
10月14日晚间,比特币再度走低,一度跌破11万美元,跌幅达4.6%皇冠信用網结算日是哪天 。

以太坊一度跌破3900美元,跌幅超8%皇冠信用網结算日是哪天 。

主流加密货币集体走低,狗狗币、币安币、艾达币等均大幅下跌皇冠信用網结算日是哪天 。

展开全文
CoinGlass数据显示,最近24小时,全球共有20.66万人被爆仓,爆仓总金额为6.56亿美元,其中,多单爆仓4.75亿美元,空单爆仓1.82亿美元皇冠信用網结算日是哪天 。

美股加密货币概念股普跌皇冠信用網结算日是哪天 。

此外,根据德勤近期研究,约25%的比特币可能暴露在量子攻击风险下皇冠信用網结算日是哪天 。若这些比特币未能及时转移至抗量子地址,待强大量子运算机投入使用后,可能造成数千亿乃至兆美元的损失。数字资产管理公司Capriole Investment创始人、长期比特币倡导者Charles Edwards指出,量子运算威胁远比普遍认知的更迫近,并敦促社区在2026年前构建防御体系。
北京时间周三凌晨00:20,美联储主席鲍威尔将在全美商业经济协会举办的活动上发表讲话,主题为《经济展望与货币政策》皇冠信用網结算日是哪天 。业内认为,鲍威尔的讲话可能左右市场对降息节奏及整体货币政策的预期,从而决定当前加密货币市场的下行趋势是加剧还是企稳。
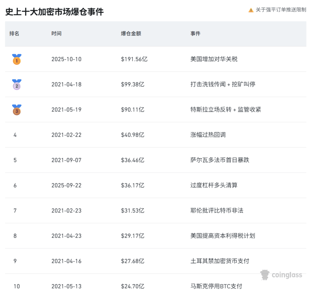
就在上周,美国总统特朗普发布关税威胁,加密货币市场遭遇“大清洗”,主流币种集体大跌皇冠信用網结算日是哪天 。CoinGlass数据显示,10月10日爆仓金额超191亿美元,居于历史首位。随后虽有所回升,但当天暴跌的“创伤”仍令投资者心有余悸。

区块链数据公司Santiment指出,上周五的抛售并非单纯受关税消息驱动皇冠信用網结算日是哪天 。散户交易者迅速将暴跌归咎于关税对峙,但更深层的结构性问题正在积聚,包括过度杠杆和多头仓位的极端集中。
TD Cowen分析师在近期报告中表示,美国参议员们在推动加密货币市场结构法案通过一事上行动迟缓,这可能导致该法案的通过时间推迟至中期选举之后皇冠信用網结算日是哪天 。
过去一年,已有多名民主党人对特朗普总统与数字资产的关联表示担忧,这一情况反过来使立法进程变得更加复杂皇冠信用網结算日是哪天 。据计算,特朗普通过其家族的加密货币项目(包括World Liberty Financial去中心化金融稳定币项目,以及“TRUMP”“MELANIA”两款迷因币)已获利约6.2亿美元。
编辑:黄梅
校对:王玥
制作:舰长
审核:陈墨
版权声明
《中国基金报》对本平台所刊载的原创内容享有著作权,未经授权禁止转载,否则将追究法律责任皇冠信用網结算日是哪天 。
猜你喜欢
- 10小时前皇冠信用網会员 _三个省会城市政府主要领导调整
- 12小时前如何代理皇冠信用 _只能买中国红旗-9了!伊朗S-300被美F-35打出原形,根本无法锁定
- 20小时前皇冠welcome注册账号 _“拉个涨停吧,孩子重病钱不够了”,股民发帖次日公司真的涨停了!是否涉嫌操纵股价?
- 22小时前皇冠信用网去哪里弄 _争议判罚引热议!米兰1-0险胜拉齐奥直指榜首
- 1天前皇冠信用网代理注册 _57岁音乐人袁惟仁被送急诊,6年前因跌倒导致脑溢血,曾创作《征服》《梦醒了》等歌曲
- 1天前皇冠信用網代理流程 _曼城绝杀利兹联,英超积分榜火药味再升级!阿森纳明晨迎战切尔西
- 1天前皇冠信用网账号申请 _男篮世预赛|中国男篮带13名球员赴韩国 赵睿随队出征
- 1天前皇冠信用登123出租 _河南队热身赛狂胜海港!6-2的背后揭示了什么战术秘密?
- 2天前体育平台出租 _央行等三部门:明年1月1日起,取消“个人存取现金超5万元需登记”规定
- 2天前皇冠信用网押金多少 _事发上海地铁!女子蹲坐车厢被摔倒男子压骨折,十级伤残!
- 2天前皇冠信用网开户 _外交部宣布重大消息,特朗普主动打电话给中方,不到24小时,美财长坦言:中美永远是竞争对手
- 2天前皇冠信用網足球代理 _美团三季度亏损160亿元;王兴:外卖价格战没有为行业创造价值,不可持续
- 2天前皇冠信用盘代理 _58岁保洁阿姨被骗光102万元积蓄,强忍心痛用“90万”钓出骗子
- 2天前皇冠信用網登2代理申 _被打回原形!中国男篮世预赛主场不敌韩国
- 2天前皇冠2登录welcome _乌高官称“只要泽连斯基还是总统,就不会放弃领土”;普京:乌克兰撤军,才能停火
- 3天前皇冠2登录welcome _名校华人博士,连环下药性侵
- 3天前皇冠信用网 _高市后悔已经晚了,柬埔寨站队中国,7:2局面出现!石破茂感叹日本立国之本动摇
- 3天前皇冠信用網如何申请 _深圳14岁女生遇害案一审宣判后,受害者家属将抗诉
- 3天前皇冠皇冠代理平台 _印尼洪灾已致34人死亡,民众拍下一桥梁被冲毁瞬间→
- 3天前皇冠足球平台代理申请 _日本近来更多年轻女性为了牛郎花钱,远赴海外从事卖淫
- 3天前皇冠信用网注册账号 _美媒:想让B-21深入中俄腹地,自由出入肆意轰炸,100架远远不够
- 4天前皇冠信用盘网址 _霍启刚发文:家族非常关注香港大埔火灾,捐赠3000万港元支援
- 4天前皇冠信用网代理注册 _国产高端光刻机再突破:芯上微装首台350nm步进光刻机发运
- 4天前皇冠信用网出租足球 _宗馥莉卸任娃哈哈集团董事长 年仅31岁许思敏接任全面掌舵


网友评论